
防護服裝材料抗刺穿及動態撕裂性測試儀
概述:
防護服裝材料抗刺穿及動態撕裂性測試儀用于對等使用的材料,對于刃具的扎入、撕破行為的耐沖擊特性進行動態評價的試驗機。將試樣表面與落下的刃具呈垂直方向安裝、使安裝刃具的重錘由一定距離開始落下,測定由于重錘沖擊能量使試樣產生的撕破長度,據此評價被試驗材料的動態撕破抵抗性。重錘的沖擊能量是通過光電感知器測定出重錘落下時間并自動測定出將要沖入試樣表面之前的落下速度,通過使用重錘的質量求出運動能
試驗原理:
將織物或皮革試樣穩固地夾在固定架上,試樣主體保持垂直。架子的上部為四分之一圓,便于試樣靠在上面,并有一個曲面正對下落到試樣的撕裂刀片,撕裂刀片上附加有配重。撕裂刀片末端很鋒利,能刺穿試樣的曲面部分。刀片圓滑的下半部分能向下撕裂試樣的垂直部分,直到消耗完刀片組的全部能量。固定架的垂直面有凹槽,這樣,刀片的末端在固定架上而刀片的中部能進行撕裂。
對于十分結實的材料,刺穿過程中由鋒利的刀片末端產生的撕裂長度小于5mm。而對于不結實的材料,這種影響就小。選擇末點或選擇合格值為40mm才能保證測量的主要性能是材料的抗動態撕裂性。撕裂長度是指刀片產生的切口在垂直方向上的尺寸。如果撕裂可能使穿著者受到傷害,就應為試樣指定較小的撕裂長度。
技術參數:
序號 | 項目 | |
1 | 控制系統 | PLC控制系統 |
2 | 操作系統 | 7寸彩色觸摸屏,中英文切換 |
3 | 試樣規格 | 寬:110mm 長:180~200mm |
4 | 落下距離 | (500~750)mm 可調節 |
5 | 重錘質量 | 1)(250±10)g 2)(500±10)g 3)(1000±10)g 4)(2000±10)g |
6 | 下落時間顯示 | 0~999ms |
7 | 刀具規格 | 前端刀刃長(10mm±0.1 mm)刀鋒(半徑0.2 mm±0.1 mm) 刀刃角度(60°±3°) 58HRC 材質:鋼 |
8 | 電源電壓 | AC220V 50Hz |
9 | 儀器規格 | 600*650*1700mm |
設備介紹
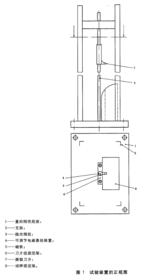
儀器設備主要有試樣固定架、撕破用刃具組、沖擊能量升降調節模組、控制系統等組成,如下圖示意

?執行標準:
GB/T 20654-2006/ISO 13995:2000《防護服裝 機械性能材料抗刺穿及動態撕裂性的試驗方法》
JIS T-8050; IS0 13995 等
配置清單
主機1臺;
測試軟件1套;
說明書1份;
合格證1份;
保修卡1份;
簽收單1份;
銘牌1塊;
電源線1根;
扳手:1套
試樣安裝板:1套
撕破用刃具:1套
聯系QQ:2081788225
聯系郵箱:2081788225@qq.com
傳真:
聯系地址:上海市金山區山陽鎮衛清東路2312號4幢4層A568
掃一掃 微信咨詢
©2026 上海徽濤自動化設備有限公司 版權所有 備案號:滬ICP備2020027510號-2 技術支持:環保在線 sitemap.xml 總訪問量:286882 管理登陸